Описание
Термостатический смесительный вентиль Regulus TSV8 B (12979) предназначен для удержания температуры поступающей в котел возвратной воды на уровне номинальной температуры открытия вентиля, и при этом предотвращает низкотемпературную коррозию и засорение котла. В результате чего возрастает КПД котла и увеличивается срок его службы.
Вентиль оборудован высококачественным термоэлементом с резиновым уплотнителем, который обеспечивает смешивание горячей воды на выходе из котла с возвратной водой поступающей из отопительной системы. Также гарантирует высокую герметичность вентиля и предотвращает микроциркуляцию во то время, когда котел не работает.
Из вентиля TSV8 B можно легко слить осадок, очистить или заменить термоэлемент после вывинчивания пробки (без демонтажа вентиля с отопительной системы). Вентиль можно устанавливать в любом положении.
Вентиль TSV8 B для своей функции не требуют применения компенсационного вентиля, имеют автоматическую компенсацию горячей воды, подаваемой по байпасу, установленному внутри. Вследствие этого его установка более легкая, а регуляция более точная. В случае, когда температура возвратной воды из отопительной системы или аккумулирующего бака близка к номинальной температуре вентиля или выше, вентиль автоматически ограничивает приток горячей воды из байпаса вплоть до его полного запирания.
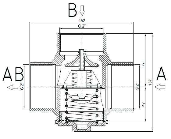
В холодном состоянии вход из отопительной системы (горловина А) закрыт термоэлементом. Вода циркулирует по открытому контуру: горловина В – горловина АВ. При достижении открывающей температуры термоэлемент начинает открывать вход из отопительной системы (горловина А) и одновременно прикрывать байпас (горловина В). С увеличением температуры возвратной воды из отопительной системы вход В и вход А ещё больше закрываются и открываются соответственно. В конце пределов регулирования байпас (горловина В) плотно закрыт, а вход из отопительной (горловина А) полностью открыт.
Термостатический смесительной вентиль изготовлен из латуни, уплотнения элемента и заглушки из EPDM, уплотнение конуса из NBR.
Характеристики вентиля:
– открывающая температура – 65 °C;
– пропускная способность A-AB(kvs) – 15,8 м3/час;
– пропускная способность B-AB(kvs) – 11,1 м3/час;
– максимальное рабочее давление – 6 бар;
– номинальный внутренний диаметр – DN 50 мм;
– соединительная резьба – 2″ внутренняя;
– производитель – Regulus.
Страна производитель: Чехия













Отзывы
Пока нет отзывов.